
TurMass? Link
TurMass? 網關
TurMass? 傳感器
TurMass? 語音
TurMass? 模組
LoRaWAN網關
LoRaWAN傳感器
4G/以太網傳感器
Cat.1傳感器
NB-IoT傳感器
軟件平臺
NB-IoT地磁(埋入式)
TBS-N210
無線車輛檢測器(表貼式)
TBS-N223
無線車輛檢測器(表貼式)
TBS-223
獨立式光電感煙火災探測報警器
JTY-GD-TCN2010
獨立式光電感煙火災探測報警器
JTY-GD-TCN2010
無線手動報警按鈕
TBS-150
無線火災聲光警報器
TBS-130
無線火災聲光警報器
TBS-N131
無線手動報警器
TBS-N150
無線火災聲光警報器
TBS-130
無線手動報警按鈕
TBS-150
底座式無線感溫報警器
TBS-140
底座式無線感溫報警器
TBS-N140
無線遠程壓力采集終端
TBO-L1700
無線遠程壓力采集終端
TBO-N1700
無線遠程液位采集終端
TBO-L1710
無線遠程液位采集終端
TBO-N1710
無線智能消防栓監測終端
TBO-N1720
無線智能消防栓監測終端
TBO-L1720
組合式電氣火災監控探測器
TBS-500
UWB 信標
WTU-102
TurMass? 室內物聯網網關
TBG-600
UWB網關
WTU-212
TurMass? 室外物聯網網關
TBG-610
UWB定位終端模塊/工牌
WTU-301
智能斷路器
TBS-510
用戶信息傳輸裝置
TBO-M1830-A
TurMass? 定位物聯網網關
WTU-221
無線智能藥盒
MB-100
GNSS定位終端模塊
WTU-322
aiTalk 長距離無網通訊手機伴侶
ATK-100
TurMass? Link 多通道網關
TBG-710
LoRaWAN數傳終端傳輸器
TBD-100
JTY-GD-TCN2010
獨立式光電感煙火災探測報警器
Cat.1地磁(埋入式)
TBS-N210
愛培智能藥箱
MB-200
智能藥盒
MB-100
TTL 物聯網平臺
TSMP-A120
TWP 智慧停車管理平臺
TWPS-A100
TPI 智慧園區停車引導平臺
TPIS-A100
THF 智慧用藥健康管理平臺
THFS-A100
TSF 智慧消防管理平臺
TSFS-A100
人員計數監測雷達
WTR-812
用戶信息傳輸裝置
TBO-M1830-B
Cat.1 工業數傳終端
TBD-110
TurMass?數傳終端傳輸器
TBD-100
微波雷達交通計數器
TBRVC310
LoRaWAN地磁
TBS-N210-L
不定位式水浸控制器
TBO-171-DT
LoRa無線防水門磁報警器
TBS-160S
LoRa 無線水浸傳感器
TBS-170
LoRaWAN 室外物聯網網關
TBG-531
LoRaWAN 室內物聯網網關
TBG-540
TurMass? Link數據傳輸終端
TBD-700
TurMass?Link 終端模組
TBM-700
TurMass? Link中繼器
TBR-700
智能照明控制模塊
TBO-1920-DT
智能遠傳冷水水表
TBO-1730-DT
智能斷路器
TBO-1930-DT
數字電能表
TBO-1910-DT
二氧化碳濃度監測終端
TBO-1030-DT
揮發性有機化合物TVOC監測終端
TBO-1040-DT
光照溫濕度監測終端
TBO-1020-DT
多要素環境監測終端
TBO-1010-DT
TurMass?低頻段標準模組
TBM-400
TurMass? 低頻段大功率模組
TBM-400-P
TurMass?數字手持對講機
TBW-100
TurMass? 無線數字手持對講機
TBW-110
TurMass? 領夾式迷你數字對講機
TBW-120
智能遙控車位鎖
TBO-2000
組合式電氣火災探測器
TBS-500
無線防水門磁報警器
TBS-N160S
視覺讀表終端
TBO-N1740
緊急報警按鈕
TBS-N152
白云絲絲游九天,銀杏片片漫校園。正是橙黃橘綠時,莫因火災釀悲劇!
校園人員密集,用電用火場景多,一旦發生火災,其造成的經濟損失比盜竊高出幾十倍。建國以來,在我國所有全日制高校中,未發生過火災的寥寥無幾,僅2022年記錄在冊的就有15起火災!
2022 火災事故
11月24日,合肥市金寨南路一商務學院女生宿舍發生火災。
11月16日下午4時,四川成都市四川外國語大學成都學校女生宿舍樓發生火災。
9月8日,天河區華南農業大學泰山區16棟1樓發生火災。
7月1日,廣西外國語學院的一食堂起火。
6月16日,凌晨桂林一高校電動自行車充電棚發生火災。
6月4日18時,湖南財政經濟學院一男生宿舍突發火災。
5月18日上午,中國農業大學西區食堂著火。
5月江蘇常州一高校5樓宿舍起火。
4月20日10時50分,中南大學材料科學與工程學院一實驗室發生爆燃事故。
4月3日下午,廣東中醫大學城宿舍K棟 某宿舍突發起火。
3月16日,湖南某職業技術學院一男生宿舍發生火災。
3月2日,清華大學紫荊公寓發生火災。
3月,海南某大學的教師公寓樓一房間著火。
2月27日上午9時,貴陽市烏當區貴州師范學院女生宿舍突然起火。
2月19日下午,江西萍鄉學院一女生宿舍突發火災。
火災救命神器



火災事故回放
2023年11月20日下午14時34分,廣州大學城某高校宿舍火災事故
事故概況:生活區學生宿舍5棟某房間發生火情,現場人員接到監控中心呼叫后及時出警、處置得當,加上事件發生在學生上課期間,事故沒有造成人員傷亡、財產損失較小。火調初步結論是:因為書籍覆蓋在劣質接線板上,接線板發熱導致著火。
系統響應:拓寶科技雙波長煙感設備在火災發生初期快速本地化報警響應,并通過智慧消防平臺向消防監控中心推送警情,平臺詳細記錄了報警設備發生的時間、地點。


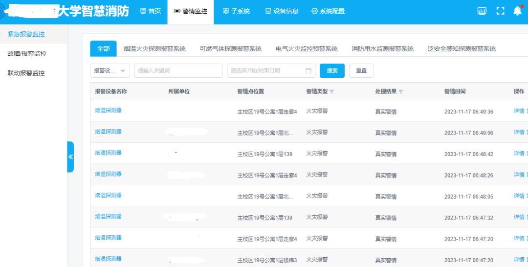
2023年11月17日早上6時47分,北京某著名高校宿舍發生火災事故 事故概況:主校區19號公寓某房間發生火情,房間、樓道和樓梯間的無線煙感相繼發出了火災報警,保衛處防火科值班人員及樓管第一時間趕到現場,及時將火災撲滅。火調初步結論是:因為學生的電暖腳毯溫度過高起火。 系統響應:拓寶科技雙波長煙感設備在火災第一時間報警響應,為宿舍學生贏得寶貴的逃生時間,平臺報警后宿管人員第一時間到現場核實火情通知救火,避免了大范圍的火災損失。平臺詳細記錄了報警設備發生的時間、地點。 拓寶科技校園智慧消防方案 



